KTM

Customer Service Ktmd

Miami Fl Toyota Schedule Service Kendall Toyota
www.kendalltoyota.com

Keretapi Tanah Melayu Wikipedia
en.wikipedia.org

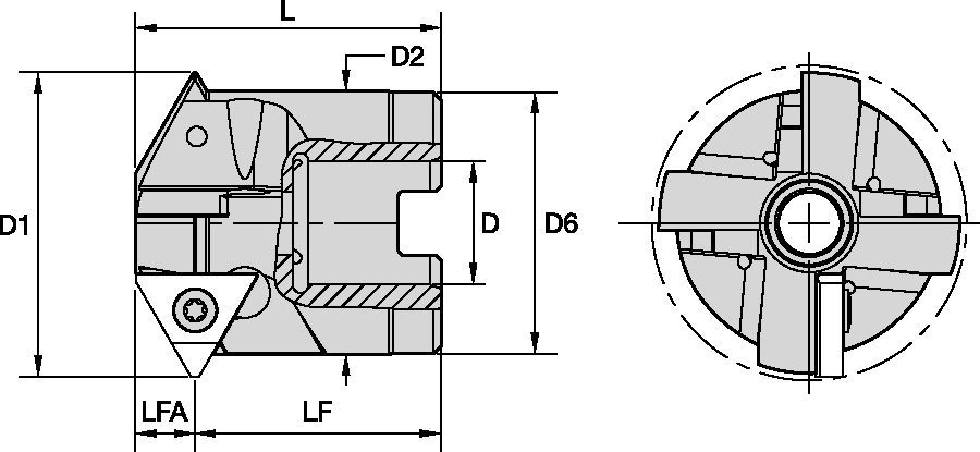
Ktmd Series Ktmd U Style 1 4 Ic Cutter Bodies
www.kennametal.com

Genio Della Pizza Ktmd Holdings Llc Trademark Registration
uspto.report

Serie Ktmd Ktmd Style U Ic 3 8 Fraises
www.kennametal.com

Do You Really Know Who You Are Teamknowyourpurpose
teamknowyourpurpose.com

Telemundo Houston Ktmd Tv Channel 47 Television Stations 1235
m.yelp.com

Community Health Center Funding News Telemundo Ktmd On Vimeo
vimeo.com

Steve Holland Stejhol Twitter
twitter.com

Ktmd Home Facebook
www.facebook.com

Woodhouse Used 2016 Honda Odyssey For Sale Ford Omaha
www.woodhouse.com

Ktm Distribution Competitors Revenue And Employees Owler
www.owler.com

I Care 01 Drawing By Camilla Marinoni Saatchi Art
www.saatchiart.com

What Does Ktmd Stand For
www.abbreviations.com

Danny Hermosillo Ktmd Tv Houston Tx Journalist Muck Rack
muckrack.com

Why Do I Have To Eat Off The Floor Amazon Com Books
www.amazon.com

Telemundo Internacional Logo Wkaq Tv Png 1200x630px Telemundo
favpng.com

Most Epic 10 000 Mile Road Trip
www.msn.com

Gibson Accessories Gibson Logo T Shirt Black Medium Sweetwater
www.sweetwater.com

Professional Motorcycle Handguard For Ktm Msx125 Nk150 Ktmd Uke200
www.aliexpress.com

Mikemcguff Com Telemundo Houston Ktmd Launches New Set
mikemcguff.blogspot.com

How To Get To Telemundo Houston Ktmd Tv Channel 47 In Houston By
moovitapp.com

Keretapi Tanah Melayu Wikipedia
en.wikipedia.org

Telemundo Dominates Late Night News In Latest Ratings Period Khou
www.houstonchronicle.com

Pejabat Operasi Ktmd Kuala Lumpur Federal Territory Of Kuala Lum
foursquare.com

Watch Ktmd Houston Tx Live Streaming Telemundo Houston Texas
www.livenewsworld.com

Double Sized Rotary Tablet Press Machine Keum Sung Machinery
www.komachine.com

Ktm Distribution About Facebook
www.facebook.com

Progressive Charlestown Stroke Experts Offer Guidelines For
www.progressive-charlestown.com

Ktmd Consulting Group Incorporated Home Facebook
www.facebook.com

I Gotta Poop By Bigedude On Amazon Music Amazon Com
www.amazon.com

Ktm 64 Success Secrets 64 Most Asked Questions On Ktm What You
www.walmart.com

Ktmd Series Ktmd U Style 1 4 Ic Cutter Bodies
www.kennametal.com

Ktmd Tv Broadcast Set Design Gallery
www.newscaststudio.com

Seria Ktmd Ktmd Typ U 1 4 Ic Korpusy Narzedzi
www.kennametal.com

Visit Ktmd Com My Home Pack Pick Deliver
links.giveawayoftheday.com

Houston Ktmd Telemundo Nbcuniversal Owned And Operated Station
www.hiclipart.com

Ktm For Sale Ktm Motorcycles Cycle Trader
www.cycletrader.com

Ktm Distribution Competitors Revenue And Employees Owler
www.owler.com

Klang Komuter Station Wikipedia
en.m.wikipedia.org

Top Ten Floo Y Wong Artist Tracking Ktmd Express
flo-oy-wongartist.com

Ktm Distribution Competitors Revenue And Employees Owler
www.owler.com

Pejabat Operasi Ktmd Kuala Lumpur Federal Territory Of Kuala Lum
foursquare.com

Mikemcguff Com The Rise Of Houston Spanish Language Tv
mikemcguff.blogspot.com

Miami Fl Toyota Service While You Sleep Kendall Toyota
www.kendalltoyota.com

Pizza A Casa Ktmd Holdings Llc Trademark Registration
uspto.report

Ktm Distribution Sb On Twitter Get More Info Click Http T Co
twitter.com

Genuine Connection The Genius Marketing Of Woodstock 1969 Rareagent
rareagent.com

Government Job Applications Federal Resumes Government Jobs
www.amazon.com

Professional Motorcycle Handguard For Ktm Msx125 Nk150 Ktmd Uke200
www.aliexpress.com

Keretapi Tanah Melayu Wikipedia
en.wikipedia.org

Best Apps By Fedex Appgrooves Get More Out Of Life With Iphone
appgrooves.com

Ktmd Intern Job In Houston At Nbcuniversal Lensa
lensa.com

Belgium Un New York On Twitter Kabba Williams Former Child
twitter.com

Philadelphia Priest William Lynn Back In Court Nbc10 Philadelphia
www.nbcphiladelphia.com

Telemundo Houston Ktmd Tv Channel 47 Television Stations 1235
m.yelp.com

Ktmd Tv Telemundo 48 Houston Childhood Obesrity Prevention
www.youtube.com

Ktmd Tv Broadcast Set Design Gallery
www.newscaststudio.com

Ktm Distribution Photos Facebook
m.facebook.com

Ktmd Bin Nurdin Pusat Sehenti Kelengkapan Haji Dan Umrah
www.binnurdin.com

Ktmd Series Ktmd U Style 3 8 Ic Inserts
www.kennametal.com

Genio Provisions Ktmd Holdings Llc Trademark Registration
uspto.report

Ice Subpoenas Info From San Diego Sheriff S Department Amid
www.nbcsandiego.com

Noticiero Telemundo Houston Set Design Gallery
www.newscaststudio.com

Kendall Toyota On Twitter Give Your Engine The Cleaning It Needs
twitter.com

Ktm Distribution Competitors Revenue And Employees Owler
www.owler.com

Gibson Accessories Gibson Logo T Shirt Black Medium Sweetwater
www.sweetwater.com

The Life And Public Services Of James A Garfield Twentieth
www.amazon.com

Professional Motorcycle Handguard For Ktm Msx125 Nk150 Ktmd Uke200
www.aliexpress.com

Noticiero Telemundo Houston Set Design Gallery
www.newscaststudio.com

Ktm Duke 200 2017 Review Powerdrift Youtube
www.youtube.com

Malaya Railway Transportation Of Motorcycles Via Ktmd
www.malayarailway.com

Ktmd Telemundo Houston 47 Television Station In Houston
ktmdtelemundohouston47.business.site

Dear Valued Custormer For Parcel Ktm Distribution Ktmd
www.facebook.com

Ktmd Malaysia Tracking
parcelsapp.com

Ktmd Series Ktmd U Style 3 8 Ic Cutter Bodies
www.kennametal.com

The Princess And The Pea Thirdeyebag
thirdeyebag.com

Ktmd Eradication Shooting Hunting Range 5 Photos Facebook
www.facebook.com

Top Ten Floo Y Wong Artist Ktm Distribution Rate
flo-oy-wongartist.com

Ktmd Series Ktmd U Style 3 8 Ic Inserts
www.kennametal.com

Telemundo Houston Ktmd Tv Channel 47 1235 North Loop W Lp Houston
www.mapquest.com

H R Ktmd Delivery Services Courier Service In Kota Damansara
hrktmd.business.site

H R Ktmd Delivery Services
hrktmd.business.site

Ktm Berhad Building In Kuala Lumpur Malaysia Encircle Photos
www.encirclephotos.com

Tech Talk Spear Phishing Attack Incident Analysis And Response
www.brighttalk.com

Maintain Your Camry Kendall Toyota In Miami Fl Car Dealership
www.kendalltoyota.com

3 Journalists Honored By Hcde Tasb For Public Education Reporting
blog.hcde-texas.org

Channel Guide Livcom
livcom.us

Houston Telemundo Debuts New Set Newscaststudio
www.newscaststudio.com

Professional Motorcycle Handguard For Ktm Msx125 Nk150 Ktmd Uke200
www.aliexpress.com

Tuberculosis Case Confirmed At Patrick Henry High School Nbc 7
www.nbcsandiego.com

Home Pack Pick Deliver
www.ktmd.com.my

The Montgomery County Animal Shelter Teams Up With Telemundo
www.mcaspets.org

2

Keretapi Tanah Melayu Wikipedia
en.wikipedia.org

Shady Card Reader Found At East Village Bank Atm Nbc New York
www.nbcnewyork.com

Tv Schedule For Lx Network Ktmd Dt3 Houston Tx Tv Passport
www.tvpassport.com

Ktmd Series Ktmd U Style 1 4 Ic Cutter Bodies
www.kennametal.com

Ktmd Photography Home Facebook
www.facebook.com

Ktm Distribution Competitors Revenue And Employees Owler
www.owler.com

close